Porsche Sales Slipped Early In 2026

Porsche is already struggling in 2026 with falling sales and major gaps in its lineup.
Ferrari's First EV Was So Quick, It Needed NASA's Help

Ferrari didn't want the Luce's acceleration to disturb the passengers, so it went to the experts.
Lamborghini May Honor The Miura With A Special Revuelto

The unique Revuelto will allegedly debut at Pebble Beach in August.
The 2027 Toyota Land Cruiser Gets One Upgrade It Was Missing

Toyota gives its off-roader a raised air intake for 2027.
Hyundai Launches Two Sharp New Ioniq Concepts For China

These new Hyundai concepts preview the brands future design language.
Ariel Unleashes Its Most Powerful Atom Yet

The Atom 4RR has 525 horsepower and hits 62 miles per hour in 2.4 seconds.
Aston Martin Caught Testing An Insane-Looking Prototype. But What Is It?

It's almost as if Aston Martin crossed its Formula 1 car with the Valkyrie.
Kia Promises New Mid-Size Truck For US And Global 'Flagship' SUV

Kia's new truck will have a body-on-frame architecture and likely share a platform with Hyundai's upcoming pickup.
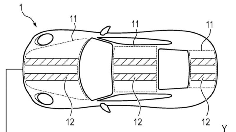
Porsche Filed A Patent For Hidden Racing Stripes

Porsche describes using the technology to indicate the cars drive mode or charge status.
The Volkswagen ID.4 Is DeadFor Now

Volkswagen is ending production of the ID.4 to make way for the new Atlas, but the company promises to keep the electric SUV alive in the US.






















